 |
|
 |
18912697778
0512-36835598
Ks05126@163.com
0512-57325659
苏州市昆山陆家镇裕利路76号
|
 |
|
|
| 当前位置:首页 > 技术支持 > 新闻中心 |
| 带内R的折弯展开及折弯线计算公式 |
| 发布人:苏州密特科精密机械有限公司 发布时间:2016/12/2 13:13:29 阅读次数:1421 |
图中,A、B 工作弯边长度
R 弯边圆角
T 钢板厚度
P 弯边圆角换算展开尺寸,见表1
L1 折弯线尺寸
L 展开长度
计算公式:
L1 =A-P/2
L=A+B-P
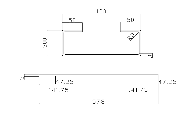
零件展开图的画法及展开尺寸的计算示例
展开尺寸 300+100+100+50+50-(5.5X4)=578
第一道弯折线 50-2.75=47.25
第二道弯折线 50+100-5.5-2.75=141.75
|
| 【返回】 |
|
|