 |
|
 |
18912697778
0512-36835598
Ks05126@163.com
0512-57325659
苏州市昆山陆家镇裕利路76号
|
 |
|
|
| 当前位置:首页 > 技术支持 > 新闻中心 |
| 钣金加工的几个小技巧! |
| 发布人:苏州密特科精密机械有限公司 发布时间:2016/12/13 14:38:59 阅读次数:932 |
1.小V折大角度,大V加压内部折弯工件外形受限时,采用此方法加工<如下图所示>
2. 加垫片折弯:对于量少而且加工外形要求高,采用此加工方式,<如下所示>
a.选择垫片厚度以加工板材厚为佳,
b.选择V槽时,以两个板厚计算

3. 在圆孔折弯拉料时,可采用折弯后前加工扩孔处理如下图所示:

4. 在方孔折弯拉料时,可采用简易模二次加工处理.如下图所示:

5.L折的特殊加工:<L<V/2>采用加料折弯,折弯后把多余料去除(二次加工)如下图所示:

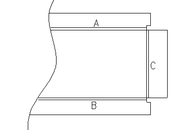
6.包料折弯:分外包料折弯和内包料折弯,(如下图所示)包料折弯转角处要开工垫槽,以便加工后无挤料变形。内包料折弯= =>先折弯,A,B后折弯C外包料折弯= =>先折弯C后,折弯A,B
|
| 【返回】 |
|
|